醫療廢水處理成套設備價格
醫療廢水處理成套設備價格咨詢山東廣晟環保公司.十年以上研發、銷售實力.產品有一體化生活污水處理設備,氣浮機,帶式污泥脫水壓濾機等.品質保證.價格優惠.包安裝調試.
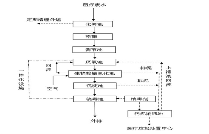
一、醫療廢水處理成套設備工藝選型:
隨著污水處理工藝的不斷進步,醫院逐漸引用MBR一體化污水處理設備。相比傳統醫院污水處理工藝,MBR更能節約消毒劑用量,使接觸時間縮短,而且在微生物滅活方面會取得良好的效果,同時也幫助消毒工藝所產生的費用大大降低,消毒劑殘留為自然環境消毒劑殘留為自然環境所帶來的影響隨之減少。

二、醫療廢水處理成套設備
醫院醫療廢水的處理流程及工藝醫療污水主要是從醫院的診療室、化驗室、病房、洗衣房、X片照相室和手術室等排放的污水,其污水來源及成分十分復雜。醫院污水中除一般生活污水外,還含有大量的病原細菌、病毒和化學藥劑、放射性廢水和病原體。醫療廢水處理工藝還可以說,至于設備就不太好說了,一般是根據工藝和水質水量選擇設備型號 醫療廢水主要采用的三種工藝有:加強處理效果的一級處理、二級處理和簡易生化處理。 醫院污水處理所用工藝必須確保處理出水達標,主要采用的三種工藝有:加強處理效果的一級處理、二級處理和簡易生化處理。

三、醫療廢水處理成套設備特點
1、醫院污水處理設備可建于地面以下,地表以上可覆土做綠化帶、道路、停車場或其他用地,不占建設用地。投資低,壽命長,一次投入,終生受益。2、二級生物接觸氧化處理工藝均采用推流式生物接觸氧化,其處理效果優于,其處理效果優于完全混合式或二級串聯完全混合式生物接觸氧化池。
3、生化池采用生物接觸氧化法,其填料的體積負荷比較低,微生物處于自身氧化階斷,產泥量少,僅需三個月(90天)以上排一次泥(用糞車抽吸或脫水成泥餅外運)。
4、整個設備處理系統配有全自動電氣控制系統,運行安全可靠,平時一般不需要專人管理,只需適時地對設備進行維護和保養。
5、該污水處理設備為鋼結構組成,選擇AO法處理工藝,采用先進的防腐技術,使設備具有耐酸、堿、鹽、汽油、煤油等,耐老化、耐沖磨,設計防腐壽命達到30年以上。噪音小于二類地區的標準。

廣晟服務熱線:13573670168
返回首頁
電話
產品中心