門診醫療廢水處理設備價格
門診醫療廢水處理設備價格咨詢廠家山東廣晟環保公司.十年以上研發、銷售實力.產品有一體化生活污水處理設備,氣浮機,帶式污泥脫水壓濾機等.品質保證.價格優惠.包安裝調試.
一、門診醫療廢水處理依據:
1、進水水質
由于需方沒有提供污水水質指標,參照其他醫院的實際污水水質指標;
2、設計污水水量
按《醫院污水處理技術指南》(環發【2003】197號)的規定,平均日污水量取0.4立方/床,理論設計水量按實際床位數計算。
3、出水水質要求
根據《醫療機構水污染物排放標準》GB18466-2005中所規定的排放標準執行

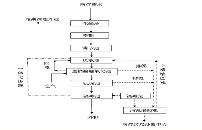
二、門診醫療廢水處理設備工藝介紹:
生物接觸氧化法:生物接觸氧化法生物池內設置填料,由于填料的比表面積大,池內充氧條件好,生物接觸氧化池內單位容積的生物體量都高于活性污泥法曝氣池及生物濾池,因此生物接觸氧化池具有較高的容積負荷,由于相當一部分微生物固著生長在填料表面,生物接觸氧化法可不設污泥回流系統,也不存在污泥膨脹問題,運行管理方便,由于生物接觸氧化池內生物固體量多,水流屬于完全混合型,因此生物接觸氧化池對水質水量的驟變有較強的適應能力,生物接觸氧化工藝大多適應于生活、醫院、療養院、賓館、住宅小區、與生活污水類似的各種工業有機廢水。

三、門診醫療廢水處理設備工藝確定
本方案采用生物接觸氧化處理工藝,生物處理裝置要求技術可行,運行費用低廉,經濟合理,設備可靠先進,工藝技術具有一定的耐沖擊負荷和操作靈活性。整體布局應簡潔,合理、美觀、實用、減少動力消耗等。

四、門診醫療廢水處理設備
格柵:攔截去除進水中大塊呈懸浮或漂浮狀態的污物,保護水泵,并防止水泵與后續管路系統被阻塞
化糞池:化糞池是基本的污泥處理設施 ,同時也是生活污水的預處理設施
調節池:指的是用以調節進、出水流量的構筑物。 狹義定義:為了使管渠和構筑物正常工作,不受廢水高峰流量或濃度變化的影響,需在廢水處理設施之前設置調節池
水解酸化池:將大分子有機物轉化為小分子有機物,將難溶性有機物轉化為可溶性有機物,提高廢水的可生化性,降低后續處理設施的運行負荷,提高污染物去除效率。
接觸氧化池:通過微生物的新陳代謝吸附、降解水中的污染物,達到凈化廢水的目的。
消毒池:二氧化氯發生器進行有效消毒,達標排放。


返回首頁
電話
產品中心