一體化醫療污水處理機器
一、一體化醫療污水處理機器
對于醫院廢水而言,一般都含有對生物細菌有抑制作用和難以生物降解的藥物成份,因此可以考慮采用前面放置厭氧處理的工藝,先將難降解的有機物水解。綜合以上考慮本方案擬用低能耗的厭氧水解+生物接觸氧化法為主體。通過厭、好氧菌分解有機物達到降解去除醫院綜合污水中有機污染物質與有害、有毒物質,達到《醫療機構水污染物排放標準》(GB18466-2005)一級排放標準,出水再經過深度處理徹底消毒處理,達到消滅病菌、細菌、保障人體健康,消除有機污染物所引起的污染隱患的目的。

二、一體化醫療污水處理機器工藝說明:
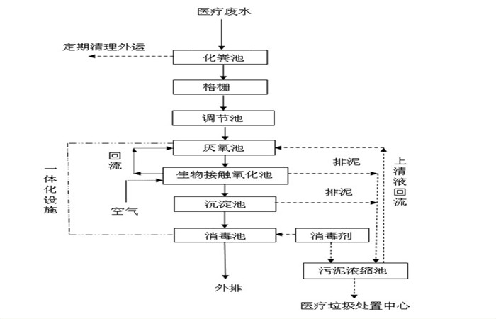
醫療污水首先進入格柵井,格柵的作用主要是攔截污水中的漂浮物及顆粒物,減輕后續設備的處理負荷和保護水泵正常工作。從格柵出來的水有提升泵提升到調節池,調節池的作用是調節水質和水量,使不同時間、不同水質的水充分混合,保證進入到后續設備的水質與水量均勻一致,還可以降低一定的負荷,使整套處理設備耐受短時間較高的負荷沖擊。
為防止SS在調節池沉淀,在調節池中安裝幾根曝氣軟管,起攪拌作用,同時調節池具有水解、酸化池的功能,可將部分大分子有機污染物降解為小分子污染物,去除部分有機污染物。調節池出來的水自流至一體化醫療廢水處理設備的水解酸化池,將不易分解的大分子有機物厭氧消化為易分解的小分子有機物,后廢水進入接觸氧化池,在曝氣池中設置填料,將其作為生物膜的載體。
待處理的廢水經充氧后以一定流速流經填料,與生物膜接觸,生物膜與懸浮的活性污泥共同作用,達到凈化廢水的作用。生物處理后的廢水自流入沉淀池,沉淀后上清液自流入消毒池,經過二氧化氯消毒后達標排放。

三、一體化醫療污水處理機器設計原則:
1、嚴格執行國家現行的環保技術標準、規范,遵守國家和地方環保的有關法律、法規及排放標準;
2、選用先進、合理、可靠的處理工藝,在確保處理排放達標的前提下,做到操作簡單、管理方便、占地小、投資省、運行費用低;
3、本工程系環境工程,尤其要注意環境保護,避免和減少二次污染。要求改善勞動衛生條件,貫徹安全生產和清潔文明生產的方針;
4、為了提高污水處理站管理水平,設計采用PLC全自動程序控制,減輕操作人員的勞動強度;
5、合理選用優質配件,降低能耗,提高工作效益和使用壽命,降低系統運行成本;
6、地埋式污水處理設備,有較大的靈活性,可調性,適應水量、水質的周期變化。
7、因地制宜,合理布局,有效地利用空間和場地。



返回首頁
電話
產品中心